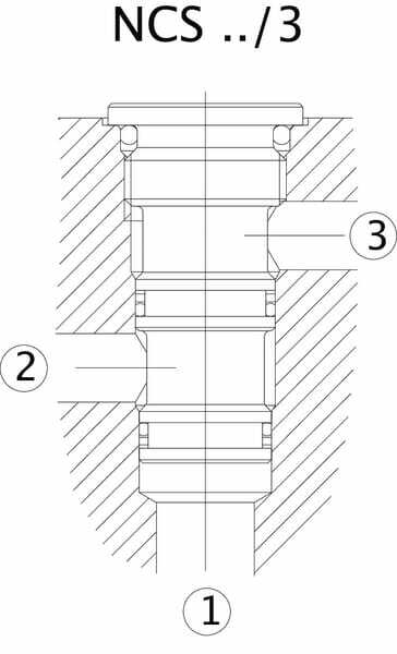
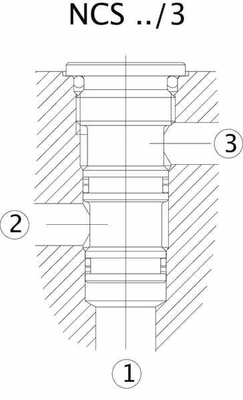
Bouchon de cavité NCS06/3
Réf :
NCS063B0
Marque non renseignée
Vendu et expédié par :
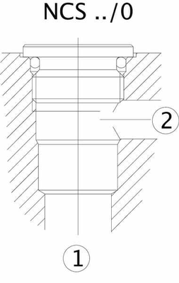
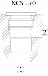
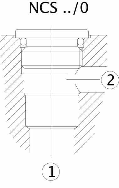
Cavité : NCS06-3
Diamètre de filetage : M22
Pas de filetage du tuyau : 1.50 mm
Type de filetage : Métrique
Disponibilité
Expédition sous 10 jours
Retrait en magasin
Livraison à domicile
Nos marques