Commande servo à pied SV50-B/0
Réf :
SV50B
Marque non renseignée
Vendu et expédié par :
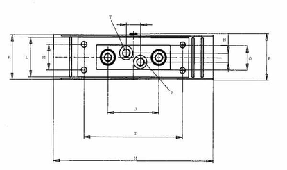
Pression de service maximale : 22 bar
Plage de pression contrôlée : 5.8-22 bar
Débit : 20 l/min
Type de filetage du raccord : BSP
Diamètre de filetage du raccord : 1/4 Inch
Angle : 24 °
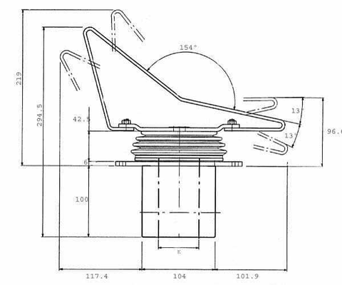
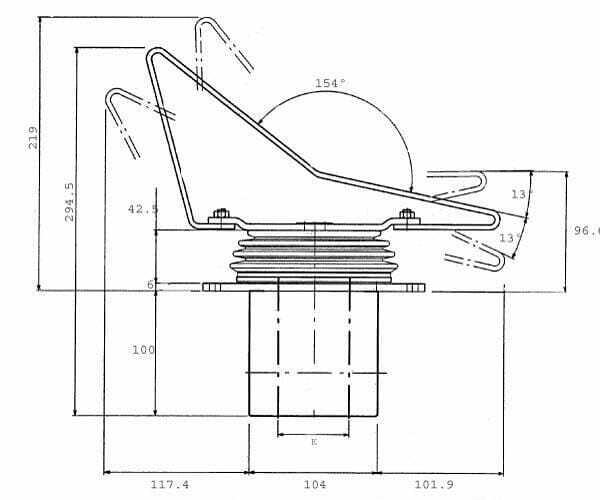
Application : Pédibulateur à deux fonctions (talon – pointe)
Caractéristique : SV 50 : angle max. de 24° SV 51 : angle max. de 30°
Construction : Pédibulateur, rappel en position centrale par ressort. SV 50 : pédale plate pour talon – pointe SV 51 : pédale sur 154° pour talon – pointe
Domaine d'application : - Servosoupapes
Caractéristiques : - Réglage précis - Commande du bout du pied - Commande avec le talon
Informations techniques : - 2 fonctions (1 à double effet) - Différentes plages de régulation disponibles
Disponibilité
Expédition sous 10 jours
Retrait en magasin
Livraison à domicile
Nos marques