Pointe de soc D.
Réf :
190060001
Marque non renseignée
Vendu et expédié par :
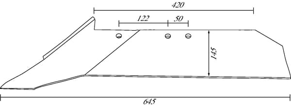
Entraxe de perçage : 50 mm
Longueur supérieure : 365 mm
Côté montage : Droite
Hauteur : 150 mm
Disponibilité
Expédition sous 10 jours
Retrait en magasin
Livraison à domicile
Nos marques